AULA 11 - Eletrônica Digital 1 - Graduação
Projeto de Circuitos Combinacionais
Um circuito combinacional é aquele constituído por um conjunto de portas lógicas, as quais determinam (pelas EQUAÇÕES BOOLEANAS) os valores das saídas diretamente a partir dos valores atuais das entradas.
Ao contrário dos circuitos sequenciais, não há alteração dos estados do circuito, como função do tempo.
O presente capítulo refere-se ao raciocínio, método e ferramentas utilizados para se fazer o projeto de circuitos combinacionais, a partir de uma especificação do que se pretende obter.
Especificação
Esta etapa, na verdade, é prévia ao projeto de circuito.
É necessário que o "cliente" tenha muito claro o que precisa que o circuito faça. Em outras palavras, quais serão suas entradas e o que tem que fornecer como saída.
Passos para montagem de um circuito combinacional:
Uma vez que a especificação esteja muito clara, muito definida, parte-se para o projeto do circuito, propriamente dito:
- Determinar as representações (símbolo/letra) para cada variável de entrada e saída;
- Identificação do problema (Tabela-Verdade);
- Determinação das equações lógicas simplificadas;
- Verificar quais componentes comerciais podem ser utilizados;
- Desenhar o circuito final.
Exemplo 1:
Especificação:
Projetar o circuito que recebe um inteiro binário de 3 bits e determina se este número é menor ou igual a 4.
Variáveis de entrada e saída:
O primeiro passo é pensar no que seria(m) a(s) entrada(s) e saída(s) do circuito!???
O fato de ser um “número binário de 3 bits” nos indica:
- que a entrada será um inteiro binário (como deve ser, em sistemas digitais! ;) );
- os números que podem entrar neste circuito variam entre 0 e 7 (3 bits);
- a entrada será composta por 3 pinos, cada um para um destes bits, que chamaremos de A, B e C.
Quanto à saída: ela deverá “indicar”, de alguma maneira, se o número que entrou em ABC é, ou não, menor ou igual à 4.
Em circuitos digitais, esta indicação pode ser dada, simplesmente, por um valor alto na saída (1), quando houver detecção, ou um valor baixo (0), quando não houver!
Em outras palavras, se entrar algum número entre 0 e 4, a saída deverá ser 1. Caso contrário, deverá ser 0!
Se o circuito “recebe” um inteiro, então esta é a entrada esperada do circuito → um número inteiro!
Identificação do problema:
O segundo passo é montar a tabela-verdade, que vai se parecer com:
A saída esperada é que o circuito detecte valores de entradas menores ou iguais a 3.
Então, na TV, as saídas Y deverão ser “1” apenas para os 4 primeiros valores:
Desta forma:
Determinação das equações simplificadas:
Para começar o 3o. Passo, você precisa agora, converter a TV em uma equação lógica booleana ou Mapa de Karnaugh e minimizar o número de componentes!
ou:
Especificação de componentes:
No quarto passo, verificaremos como podemos especificar o circuito que melhor se adequará à equação booleana resultante.
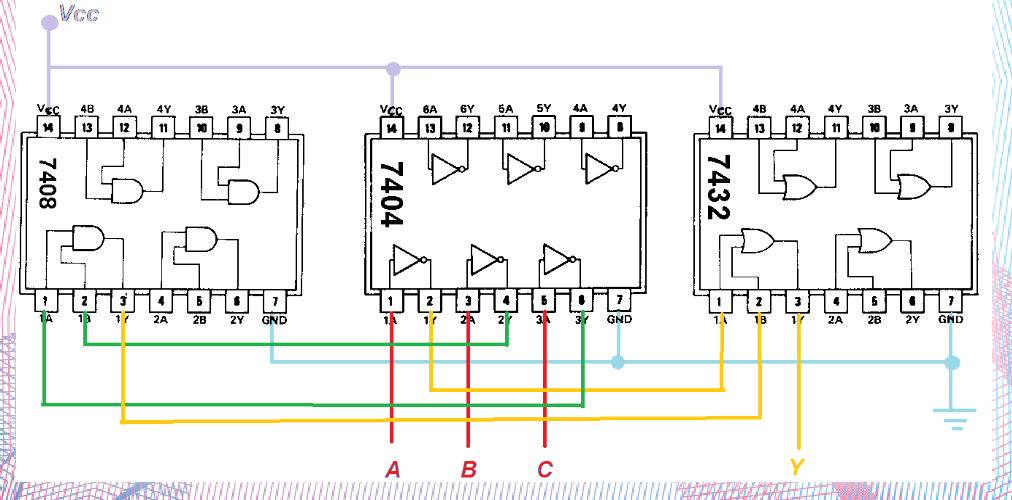
Verificamos que a saída desejada limita-se à entrada A invertida mais as entradas B e C, também invertidas, jogadas como entradas de uma porta E !!
Desenho do circuito:
Por fim, chegamos ao último passo:
Esquema de interligação dos CIs:
Exercícios:
- Se o problema da questão anterior, Y = A' + B'.C' restringisse que só poderíamos usar portas NAND (NÃO-E) na construção deste circuito, como você faria? Soluções
- Se o problema pedisse que a saída Y também detectasse quando todas as entradas fossem 1, que alteração(ões) você faria no circuito?
- Projete o circuito que identifica saídas menores ou iguais a 8. Soluções
- O sistema abaixo é composto de quatro fornos (A, B, C e D). Cada forno possui um controlador de temperatura (CA, CB, CC e CD) que faz o controle da temperatura no respectivo forno. Se a temperatura de um dos fornos ultrapassar um valor programado naquele controlador, o respectivo alarme é acionado e o nível lógico do alarme daquele controlador é setado. Projete um circuito digital que ative o SINALIZADOR sempre que duas ou mais saídas de alarme estiverem ativas. Soluções
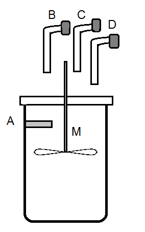
- Um misturador de tintas está representado na figura ao lado. Neste sistema, temos um motor que gira a hélice que mistura a tinta, representado pela letra M; temos também o sensor de nível A, que indica que o tanque já encheu até o valor mínimo de trabalho, e as válvulas de passagem das tintas, representadas pelas letras B, C e D. Tanto o motor, quanto o sensor e válvulas são considerados ligados ou ativados quando estiverem com nível lógico 1, e desligados ou desativados, em nível lógico 0. Projete o circuito de controle do motor M para que somente quando o nível do tanque atingir o sensor A e duas ou mais válvulas estiverem acionadas, este seja ligado.
- Uma fábrica necessita de uma sirene para indicar o fim do expediente. Esta sirene deve ser tocada em uma das seguintes condições: (a) já passa das dezoito horas e todas as máquinas estão desligadas; (b) é sexta-feira, a produção do dia foi atingida e todas as máquinas estão desligadas. Projete um circuito que controle a sirene.
- Uma estufa deve manter a temperatura interna sempre na faixa de 15 graus e 20 graus Celsius, controlada automaticamente por um sistema de controle digital. Para isto, foram instalados internamente dois sensores de temperatura que fornecem níveis 0 e 1 nas seguintes condições: (a) T1 = 1, para temperaturas maiores ou iguais a 15 graus; (b) T2 = 1, para temperaturas maiores ou iguais a 20 graus Celsius. Projetar um circuito combinacional para fazer o controle de temperatura desta estufa através do acionamento de um aquecedor A, ou de um resfriador R, sempre que a temperatura interna sair da faixa desejada Soluções para os exercícios 4 a 7
- Projete um circuito de 4 entradas que forneça saída um sempre que a maioria das entradas esteja acionada (com valor 1).
- Um carro possui um sensor em cada uma das duas portas, indicando quando estas estão abertas (nível lógico alto); um sensor na ignição, indicando quando esta está ligada (nível lógico alto); e um sensor referente ao estado dos faróis (faróis acesos = nível lógico alto). Projete o circuito que acenda uma luz de alerta no painel do carro, sempre que alguma porta estiver aberta, ao mesmo tempo em que a ignição estiver ligada, e também, sempre que os faróis estiverem acesos, com a ignição desligada.
- Um conversor A/D de 4 bits, sendo A o MSB, está conectado à uma bateria veicular de 12V, produzindo uma saída digital correspondente à tensão da bateria, em degraus de 1V. Projete um circuito que produza saída ALTA para quando a bateria estiver com tensão superior a 6V. Mostre o circuito final mínimo, utilizando apenas portas NAND. Solução
- Uma impressora deve acender um LED indicativo S, quando a bandeja de papel estiver vazia ou os dois sensores na trajetória do papel estiverem acionados, indicando que o papel não está passando (congestionamento de papel). A presença de papel é sinalizada pelo sinal lógico P em ALTO. Os sensores Q e R ficam em ALTO, quando o papel está passando sobre os mesmos. Projete o circuito mínimo para gerar S, utilizando apenas portas NAND.
Fontes
- BASTOS, Alex Vidigal. "Projeto de Circuitos Combinacionais". Eletrônica Digital. Departamento de Computação. ICEB, UFOP.
- BERTINI, LUCIANO. "CAPÍTULO 4 CIRCUITOS COMBINACIONAIS". Departamento de Ciência da Computação (RCM)
Instituto de Ciência e Tecnologia (ICT). UNIVERSIDADE FEDERAL FLUMINENSE – CAMPUS RIO DAS OSTRAS.
- DAMASCENO, Nielsen C. "Circuitos combinacionais". Disciplina de Eletrônica digital I. Departamento de Engenharia da Computação e Automação, Universidade Federal do Rio Grande do Norte
- ENADE 2005 e 2008. "Exercícios de Circuitos Combinacionais". ORGANIZAÇÃO E ARQUITETURA DE COMPUTADORES I.
- KLUG, MICHAEL. "Parte 1 - Display, Decodificadores e Codificadores", Disciplina de Eletrônica Digital II, curso de Engenharia Elétrica, IFSC, Campus Joinville.
- PINHEIRO, Alan P. "Capítulo 4 - Circuitos Lógicos Combinacionais". Engenharia Eletrônica e de Telecomunicações, Universidade Federal de Uberlândia
- RAYEL, Ohara Kerusauskas. "Projeto de Circuitos Combinacionais" Disciplina de Eletrônica Digital - ET75C. UTFPR.
- WENDLING, Marcelo. "Curso de Lógica SequencialA – Cap. 1: Revisão de Lógica Combinacional". Faculdade de Engenharia de Guaratinguetá, UNESP.
| << Mapas de Karnaugh | AULA 11 - Projeto de Circuitos Combinacionais | Circuitos Aritméticos >> |
|---|














